
淘博工业设计公司是一家专业的工业设计公司,致力于为客户提供全方位的设计服务
一、产品概述
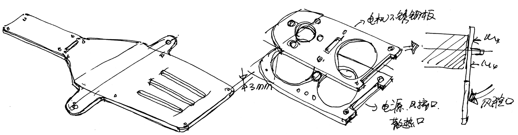
桌面创新吸尘无尘式打磨机是一款专为金工、木作、玉石爱好者设计的高效打磨工具。该机器最大的特点是内置管道吸尘系统,有效解决了传统打磨过程中灰尘满天飞的问题,提供了一个清洁、无尘的工作环境。打磨机龙骨、支架及推台都选择301不锈钢,这个很方便就解决了常规打磨产品钣金材料容易生锈的问题,延长产品使用寿命。
The desktop innovative dust-free grinding machine is an efficient grinding tool designed specifically for enthusiasts in metalworking, woodworking, and jade processing. The most significant feature of this machine is its built-in ducted vacuum system, which effectively addresses the issue of dust flying around during traditional grinding processes, providing a clean and dust-free working environment. The frame, support, and push table of the grinding machine are all made of 301 stainless steel, which conveniently solves the problem of rusting commonly found in conventional grinding products made of sheet metal, thereby extending the product's service life.

内置吸尘系统:通过内置管道吸尘的方式,有效收集打磨过程中产生的灰尘,保持工作环境的清洁。这个模块可以极大程度减少灰尘对操作者的健康影响,从而提高了工作效率。
Built-in Dust Extraction System: The built-in dust extraction system effectively collects dust generated during the grinding process through internal ducts, maintaining a clean working environment. This module can significantly reduce the health impact of dust on the operator, thereby improving work efficiency.

主体结构:
龙骨:3mm厚度的301不锈钢,坚固耐用。
躯体:环保的PLA打印材料,轻便且环保。
底板设计:3mm厚度的不锈钢板,坚固稳定。
Frame: Made of 3mm thick 301 stainless steel, which is robust and durable.
Body: Constructed from environmentally friendly PLA printing material, which is lightweight and eco-friendly.
Base Plate Design: Features a 3mm thick stainless steel plate, ensuring stability and sturdiness.

打磨支架:可调打磨支架,前后可调装置,方便更换不同目数的圆砂纸片。
推台设计:双圆头矩形造型,防止常规磕碰,一体化设计,美观实用。
Grinding Support: Adjustable grinding support with a front-to-back adjustment mechanism, facilitating the replacement of circular sandpaper sheets of different grit sizes.
Platform Design: Features a double-rounded rectangular shape to prevent common bumps and scratches. The integrated design is both aesthetically pleasing and practical.

电机:795直流电机,大扭矩、高转速,提供强大的打磨动力。
连接方式:5转10的打磨转接头,确保电机与打磨片的稳定连接。
Motor: A 795 DC motor, featuring high torque and high speed, provides powerful grinding power.
Connection Method: A 5-to-10 grinding adapter ensures a stable connection between the motor and the grinding disc.

接口设计:
电机通风口:确保电机在高负荷运行时的散热。
直流电源输入口:提供稳定的电源输入。
吸尘管道接口:连接吸尘系统,有效收集灰尘。
Motor Ventilation Port: Ensures heat dissipation for the motor during high-load operation.
DC Power Input Port: Provides a stable power supply.
Dust Extraction Pipe Interface: Connects to the dust extraction system to effectively collect dust.

控制方式:船型开关位于产品主体侧面,操作方便,,主要负责磨机的开关;直流电源的则负责控制795电机转速和开关。

适用范围:
干磨:适合干磨操作,提供清洁的工作环境。
水磨:支持水磨操作,可外加水磨滴水过滤装置,适合玉石类工作者的打磨加工。
Switch: The toggle switch is located on the side of the product body for easy operation and is primarily responsible for turning the grinder on and off.
DC Power Supply: The DC power supply is responsible for controlling the speed and on/off function of the 795 motor.
1、金工:适用于金属材料的打磨和抛光。大扭矩电机提供强大的打磨动力,确保高效完成金工任务。
2、木作:适用于木材的打磨和抛光。内置吸尘系统减少木屑和灰尘,保持工作环境的清洁。
3、玉石加工:适用于玉石的打磨和抛光。支持水磨操作,提供清洁的工作环境,适合玉石类工作者的精细加工。
操作技巧:在打磨过程中,保持均匀的施力,避免过度施力导致打磨片损坏。根据不同的打磨需求,适当调整打磨支架的位置,确保打磨效果。
1、Metalworking:Suitable for grinding and polishing metal materials. The high-torque motor provides powerful grinding power, ensuring efficient completion of metalworking tasks.
2、Woodworking:Suitable for grinding and polishing wood. The built-in dust extraction system reduces sawdust and dust, maintaining a clean working environment.
3、Jade Processing:Suitable for grinding and polishing jade. Supports wet grinding operations, providing a clean working environment, ideal for the fine processing needs of jade workers.
桌面创新吸尘无尘式打磨机以其内置吸尘系统、坚固耐用的结构和多功能设计,成为金工、木作、玉石爱好者的优质选择。通过内置吸尘系统,有效解决传统打磨过程中灰尘满天飞的问题,提供了一个清洁、无尘的工作环境。希望这些信息能够帮助您更好地了解这款创新打磨机的特点和使用方法。
The desktop innovative dust-free grinding machine with built-in vacuum system, robust construction, and multifunctional design has become an excellent choice for enthusiasts in metalworking, woodworking, and jade processing. The built-in vacuum system effectively addresses the issue of dust flying around during traditional grinding, providing a clean and dust-free working environment. We hope that this information will help you better understand the features and usage of this innovative grinding machine.
客服电话:137-5718-6821
工作时间:9:00-18:00 (工作日)
提交建议
浙公网安备33010602000906号